Products
Search Catalog
| 
 | |||||||||||||||||||||||||||||
| DEM024SJ | |||||||||||||||
| THREE PHASE FOUR WIRE ELECTRONIC DIN-RAIL ACTIVE ENERGY METER | |||||||||||||||
| Application | |||||||||||||||
| Model DEM024SJ three phase four wire electronic DIN rail active energy meter is a kind of new style three phase four wire electronic active energy meter, it adopt micro-electronics technique, and imported large scale integrate circuit, use advanced technique of digital and SMT techniques, etc. It has its completely independent intellectual property rights and minimum size, and also a new three phase four wire active energy meter. The meter completely accord with relevant technical requirements of class 1 three phase active energy meter stipulated in international standard IEC 62053-21. It can accurate and directly measure 50Hz or 60Hz active energy consumption from three phase four wire AC electricity net. This meter has white backlight source eight digits LCD displays shows the active energy consumption. It has following features: good reliability, small volume, light weight, specious nice appearance, convenient installation, etc. The patent certificate of this meter is in assessing in the China State Intellectual Property Office at present. | |||||||||||||||
| Functions and features | |||||||||||||||
| ● 35mm standard DIN- rail installation, complying with standard DIN EN50022. ● Four pole width (Modulus 17.5mm), complying with standard DIN43880. ● Standard configuration 7+1 digits display (9999999.1kWh) by white backlight source LCD. May select7+1 digits display (999999.1kWh) without backlight source general LCD, (Product Configuration code is SK). ● Standard configuration pulse output passive (polarity), May select distant impulse output passive (nonpolarity). And contact with all kind of AMR system conveniently, Complying with standard IEC 62053-31 and DIN 43864. ● Four LED respectively instructions every power supply state and signal of energy impulse. ● Automatic detection the direction of the flow of load current. And Instructions on individual LED ● Single direction three components measure three phase four wire active energy consumption. It is nothing with direction of the flow of load current. Complying with standard IEC 62053-21. ● Directly connect operation, type S wiring (inlet from top, outlet from bottom),. ● Extension terminals cover, in order to protect to use safety. | |||||||||||||||
| Technical parameters | |||||||||||||||
| 
 | |||||||||||||||
| *If you need different reference voltage or current specification, please advisory our sales. | |||||||||||||||
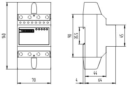
| Outer and mount dimension | |||||||||||||||
|  | |||||||||||||||
| Wiring diagram (Type S) | |||||||||||||||
| 
 |